Source for large valves?
- D_Hall
- Staff Sergeant 5
- Posts: 1944
- Joined: Thu Feb 07, 2008 7:37 pm
- Location: SoCal
- Has thanked: 11 times
- Been thanked: 44 times
Somehow the activity on this thread escaped me. Thanks for the heads up on the 6" piston valves. I'll definately have to check them out although I've already got a mess of sch 160 6" pipe, flanges, 320 gallon propane tanks, etc. on order. Oh well. It may work out that buying the finished valve from that company is still cheaper than finishing my work on this end (but I doubt it).
Last edited by D_Hall on Tue Nov 10, 2009 11:39 pm, edited 1 time in total.
- D_Hall
- Staff Sergeant 5
- Posts: 1944
- Joined: Thu Feb 07, 2008 7:37 pm
- Location: SoCal
- Has thanked: 11 times
- Been thanked: 44 times
Posting with a combination update and FYI.clide wrote:Not quite rated at what you are looking for (as far as I can tell), but there is a company making 6" piston valves. http://www.martin-eng.com/products/big- ... air-cannon
First, the FYI. I looked into the valves linked to above. Nice valves. The vendor does not rate them for any particular pressure but claim to have tested them to 600 psi. The odd thing about them is that they don't fully open. As folks around here know, a piston valve should open AT LEAST D/4; or in the case of a 6" valve, 1.5". Their valves only open like 5/8 of an inch. WTF? Oh well. If they'd opened fully, they'd have been great. But they don't so they were totally unsuitable for my application.
On the update front, today I took delivery from the machine shop of the last components for my own valves. I assembled one at the close of business.... Haven't had a chance to test it under full pressure and such, but it seems to work beautifully. Way better than I had any reason to expect although they're not of particular use for spud guns as they open too slow for that (by design, they open in about 2 seconds).
- Technician1002
- Captain
- Posts: 5189
- Joined: Sat Apr 04, 2009 11:10 am
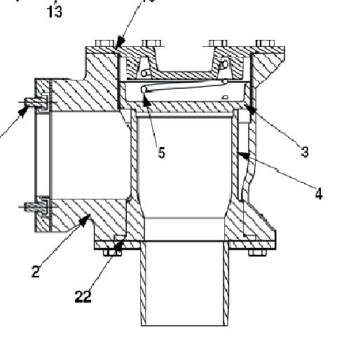
Don't let that diameter fool you. I thought the same thing at first until I studied it closely. The opening looks small compared to the piston diameter. When you take the opening area and compare it to the outlet port, it opens big enough. It's like using my 2.5 inch QDV to drive a golf ball barrel. It won't need to open 1/4 D to open fully into the barrel. They get the performance by having a short stroke with a large diameter piston for a large opening. Look at the piston valve body compared to the outlet pipe. That is the secret.D_Hall wrote:The odd thing about them is that they don't fully open. As folks around here know, a piston valve should open AT LEAST D/4; or in the case of a 6" valve, 1.5". Their valves only open like 5/8 of an inch. WTF?clide wrote:Not quite rated at what you are looking for (as far as I can tell), but there is a company making 6" piston valves. http://www.martin-eng.com/products/big- ... air-cannon

- Attachments
-
- Note the valve seat is considerably larger than the outlet pipe.
- blaster.jpg (33.13 KiB) Viewed 1940 times
Last edited by Technician1002 on Wed Nov 11, 2009 12:50 am, edited 2 times in total.
- D_Hall
- Staff Sergeant 5
- Posts: 1944
- Joined: Thu Feb 07, 2008 7:37 pm
- Location: SoCal
- Has thanked: 11 times
- Been thanked: 44 times
Just reread the literature and if they're using an oversized valve seat (ie, sealing face much larger than outlet) they make no mention of it. Pics look like pretty standard design to me but I conceed that they could be misleading (not the greatest pics to begin with). In any event, if that's the case, their poor literature cost 'em the sale of a couple valves.
Note: Probably the best link I found for the valves...
http://www.martin-eng.com/webfm_send/842
edit: I see tech has added a schematic of sorts since I replied. All I can say is that schematic doesn't look like the cutaway valve shown in the link I listed. Do they have two models? Beats me. Water under the bridge at this point.
Note: Probably the best link I found for the valves...
http://www.martin-eng.com/webfm_send/842
edit: I see tech has added a schematic of sorts since I replied. All I can say is that schematic doesn't look like the cutaway valve shown in the link I listed. Do they have two models? Beats me. Water under the bridge at this point.
- Technician1002
- Captain
- Posts: 5189
- Joined: Sat Apr 04, 2009 11:10 am
The owners manual is a great resource with drawings.D_Hall wrote: Note: Probably the best link I found for the valves...
http://www.martin-eng.com/webfm_send/842
http://www.martin-eng.com/webfm_send/759
- D_Hall
- Staff Sergeant 5
- Posts: 1944
- Joined: Thu Feb 07, 2008 7:37 pm
- Location: SoCal
- Has thanked: 11 times
- Been thanked: 44 times
Very odd.Technician1002 wrote:The owners manual is a great resource with drawings.
http://www.martin-eng.com/webfm_send/759
Based on the drawings, it appears that the different sizes are NOT simply scale ups/downs. The 6" valve appears to have the flare you speak of. The smaller valves do not (I gather the 4" is the one pictured in the link I provided).
- Brian the brain
- Moderator
- Posts: 3497
- Joined: Mon Dec 05, 2005 2:06 am
- Location: Holland
- Been thanked: 7 times
That manual should be in the wiki.
Can't think of any funny comment right now...
Can't think of any funny comment right now...

Gun Freak wrote:
Oh my friggin god stop being so awesome, that thing is pure kick ass. Most innovative and creative pneumatic that the files have ever come by!
Can't ask for a better compliment!!
Oh my friggin god stop being so awesome, that thing is pure kick ass. Most innovative and creative pneumatic that the files have ever come by!
Can't ask for a better compliment!!
- D_Hall
- Staff Sergeant 5
- Posts: 1944
- Joined: Thu Feb 07, 2008 7:37 pm
- Location: SoCal
- Has thanked: 11 times
- Been thanked: 44 times
Well, today I dumped 640 gallons of 100 psi air in about 0.75 seconds. Pretty damned amazing if I do say so myself. Tomorrow I'll push the pressure to 120 psi (what the customer finally decided on). In the final application I'll be dumping said air in about 0.25 seconds.
But they work!
But they work!
