valveless/popoff concept
- jackssmirkingrevenge
- Five Star General
- Posts: 26216
- Joined: Thu Mar 15, 2007 11:28 pm
- Has thanked: 576 times
- Been thanked: 347 times
I've done a lot of work over the years on reciprocating valve mechanisms for automatic airguns, culminating recently in the ultimatehigh pressure variant. However, after considering ideas for adjustable detents and valveless mechanisms, I might have been chasing a route of overcomplication.
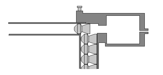
The concept is that a spring driven magazine feeds a projectile into the breech, where it is held by the detent. Pressure is fed into the chamber at a fixed rate. It is this rate that determines rate of fire. The detent setting determines at what pressure the projectile is released. Once the pressure is reached, the projectile is fired and a new projectile is fed into the breech, blocking it and the pressure builds up repeating the cycle.
The advantages of making this work would be tremendous, because the projectile would only be released at maximum pressure, and would have all the performance benefits of a burst disk launcher because the "valve" has zero opening time and immediately reaches full unrestricted flow. Also, no air is wasted pushing pistons, it all goes towards propelling the ammunition so should be the ultimate in efficiency.
The concept is that a spring driven magazine feeds a projectile into the breech, where it is held by the detent. Pressure is fed into the chamber at a fixed rate. It is this rate that determines rate of fire. The detent setting determines at what pressure the projectile is released. Once the pressure is reached, the projectile is fired and a new projectile is fed into the breech, blocking it and the pressure builds up repeating the cycle.
The advantages of making this work would be tremendous, because the projectile would only be released at maximum pressure, and would have all the performance benefits of a burst disk launcher because the "valve" has zero opening time and immediately reaches full unrestricted flow. Also, no air is wasted pushing pistons, it all goes towards propelling the ammunition so should be the ultimate in efficiency.
- Attachments
-
- popoffvl.gif (13.13 KiB) Viewed 9886 times
Ammo with Orings would really be your only chance at keeping a seal, and having those feed correct may be hard. Other than that I see nothing that wont work, it will take a lot of tweaking to work, but if anyone can do it, its you.
- Moonbogg
- Staff Sergeant 3
- Posts: 1737
- Joined: Mon Oct 13, 2008 10:20 pm
- Location: SoCal
- Has thanked: 166 times
- Been thanked: 102 times
So the pressure has to deform the pellet before it escapes? You could use a spring ball plunger instead and then you'd have adjustable retention force. Great concept though.
- jackssmirkingrevenge
- Five Star General
- Posts: 26216
- Joined: Thu Mar 15, 2007 11:28 pm
- Has thanked: 576 times
- Been thanked: 347 times
With my valveless prototype I found it was possible to have a perfect seal with just a tight fitting pellet whose skirt would inflate and press against the barrel. I think the biggest issue is getting it to feed reliably without the benefit of airflow, because if you need a substantial flow to push the projectile into the breech before it seals then you're going to be limited on how low you can go with rate of fire.pizlo wrote:Ammo with Orings would really be your only chance at keeping a seal, and having those feed correct may be hard.
I didn't show it in the diagram but it's implied that there's a ball detent keeping the projectile in place. In practice I think this would work best with hard spherical projectiles though, BBs and such.So the pressure has to deform the pellet before it escapes? You could use a spring ball plunger instead and then you'd have adjustable retention force.
Ah, I had not thought about skirts on the pellets. About the air source though, would it be controlled or just regged down? I think you would lose substantial air in between sealing pellets. We'd know all of htis for sure after a prototype 

- jackssmirkingrevenge
- Five Star General
- Posts: 26216
- Joined: Thu Mar 15, 2007 11:28 pm
- Has thanked: 576 times
- Been thanked: 347 times
You'd need a variable outlet to the chamber that would allow you to adjust for optimum rate of fire, and since the system depends on a minimum operating pressure it would make sense to have a regulated air supply close to the "pop-off" pressure needed for projectile release.pizlo wrote:About the air source though, would it be controlled or just regged down?
You don't want the barrel sealed up by the second projectile before the first has left the barrel either, I think in practice such losses would be minimal. And yes, I'm trying to decide what the best calibre/ammunition/magazine combination would be to make a prototypeI think you would lose substantial air in between sealing pellets.

- Brian the brain
- Moderator
- Posts: 3497
- Joined: Mon Dec 05, 2005 2:06 am
- Location: Holland
- Been thanked: 7 times
I think you would lose substantial air in between sealing pellets.
I think it's another case of delicate balance between sealing problems, friction and jams at the breech.
I think you might be in for another long journey my friend..Again, it's a very good theory...but it's the practice that gets you...You don't want the barrel sealed up by the second projectile before the first has left the barrel either, I think in practice such losses would be minimal. And yes, I'm trying to decide what the best calibre/ammunition/magazine combination would be to make a prototype

Gun Freak wrote:
Oh my friggin god stop being so awesome, that thing is pure kick ass. Most innovative and creative pneumatic that the files have ever come by!
Can't ask for a better compliment!!
Oh my friggin god stop being so awesome, that thing is pure kick ass. Most innovative and creative pneumatic that the files have ever come by!
Can't ask for a better compliment!!
I'd certainly not use the air pellet style in the animation.
Plain cylinders with edges rounded off, perhaps hollow at the base, perhaps weighted at the nose. Not important, first step is them being fired. Sort external ballistics later.
Easy to get a seal on and minimal jams from irregular shapes in feeding.
You could also just use plain bearings but they will climb over one another somewhat as the first moves to one side to lodge against the seal and detent.
Another difference between rod and ball is that following balls will feed very quickly in after the first round dislodges. A second rod cannot move up until the first rod has passed through the seal which gives a longer burst of air compared to the ball.
Plain cylinders with edges rounded off, perhaps hollow at the base, perhaps weighted at the nose. Not important, first step is them being fired. Sort external ballistics later.
Easy to get a seal on and minimal jams from irregular shapes in feeding.
You could also just use plain bearings but they will climb over one another somewhat as the first moves to one side to lodge against the seal and detent.
Another difference between rod and ball is that following balls will feed very quickly in after the first round dislodges. A second rod cannot move up until the first rod has passed through the seal which gives a longer burst of air compared to the ball.
I'm going to express doubts at this working. I won't bother going into why, as you'll ignore me either way and try it anyway, but I will be seriously surprised if that particular design gives the desired results.
Does that thing kinda look like a big cat to you?
I'm going to express design theory instead.

After consideration...
Plain cylinders will be subjected to the friction of the detent all along their length.
A bearing with a slightly narrower length of rigid tube attached has the point contact with the detent and seal of a standard bearing but the anti-ammo-climb and longer air burst of a rod projectile.
I didn't get round to sketching it but:
Forcing the projectile to stack at a downward slant with the ball tip upmost will aid feeding.
The ball tip of #2 projectile is prevented from rising until the entire length of #1 projectile has exited.
When pushed high enough (when #1 projectile has fired) the rear of #2 can flip upwards as the ball tip of #2 is forced into the detent if the tail-side magazine wall is made to the right height to release it.
An interesting side effect of using a hollow tube as the tail is that it will carry a small charge of compressed air out with it before the opening is resealed by the following projectile. Another improvement over solid rod or bearings. Small but there.

After consideration...
Plain cylinders will be subjected to the friction of the detent all along their length.
A bearing with a slightly narrower length of rigid tube attached has the point contact with the detent and seal of a standard bearing but the anti-ammo-climb and longer air burst of a rod projectile.
I didn't get round to sketching it but:
Forcing the projectile to stack at a downward slant with the ball tip upmost will aid feeding.
The ball tip of #2 projectile is prevented from rising until the entire length of #1 projectile has exited.
When pushed high enough (when #1 projectile has fired) the rear of #2 can flip upwards as the ball tip of #2 is forced into the detent if the tail-side magazine wall is made to the right height to release it.
An interesting side effect of using a hollow tube as the tail is that it will carry a small charge of compressed air out with it before the opening is resealed by the following projectile. Another improvement over solid rod or bearings. Small but there.
- jackssmirkingrevenge
- Five Star General
- Posts: 26216
- Joined: Thu Mar 15, 2007 11:28 pm
- Has thanked: 576 times
- Been thanked: 347 times
Wise words my Nederlander friend, I'm quite sure you have a point there, but it doesn't seem to be as fiddly an idea as the pop-off piston, we'll seeBrian the brain wrote:I think you might be in for another long journey my friend..Again, it's a very good theory...but it's the practice that gets you...

Hotwired wrote:I'd certainly not use the air pellet style in the animation.
Fair point, I wouldn't either as the potential for jams is substantial. I think BBs would be the best solution, as the cylindrical projectiles you mentioned would be a chore to manufacture and that is not a desireable trait for full auto ammunition.
Rag wrote:I'm going to express doubts at this working.
Oh you sceptic you!
This particular design, perhaps not, but it's the concept that counts. It's basically a glorified Tee breech really, I don't see why it shouldn't be made to work.
No offence intended, but it really doesn't sit with me.jackssmirkingrevenge wrote:Oh you sceptic you!
My main concern is the concept of combining valveless and the loader design.
I strongly suspect that you'll either end up with more jams than you could find at a village fete or uncontrollable feeding due to the Bernoulli effect - something like the Vogt pattern machine gun. Or of course, both uncontrollable feeds and jams. Fun for all the family.
I may be wrong, but I think this is taking striving for minimum part count a few steps too far. It'll be good if it works, and it might to some degree - but I just don't think it's going to work as you want it to.
Does that thing kinda look like a big cat to you?
Hmm? Sticking BBs to a length of rigid tube with a bit of epoxy? I can think of worse things to do for ammo, hardest bit is chopping the tube to length, then it's just dab and stick.jackssmirkingrevenge wrote:I think BBs would be the best solution, as the cylindrical projectiles you mentioned would be a chore to manufacture and that is not a desireable trait for full auto ammunition.
The thing about that is the tube doesn't take any force, it is all on the steel ball, worst the tube has to take is the force of the magazine spring, all the other forces in there are balanced as the entire magazine is pressurised.
Could possibly use straws as long as they're rigid enough to not just flatten under the force of the spring.
I'd at least use 5mm ball bearings though, for sanities sake. ~10mm would be preferable.
I have this feeling you want to use the 3mm bearings ^^
Last edited by Hotwired on Thu May 21, 2009 3:55 am, edited 1 time in total.
JSR, I did something like this long ago. I made a big mag with too many BBs. It had weird air flow problems, the mag became the chamber. I guess a more sophisticated /experienced builder may meet with better results.